CAS-60040 Series

Single Ended Shear Beam

SKU
CAS-60040 Series

Features

  • 25 lb to 500 lb Capacities
  • Stainless Steel Construction
  • Protected up to IP65 Standards

  • Light Capacity Tanks
  • Bin
  • Hoppers

Approvals

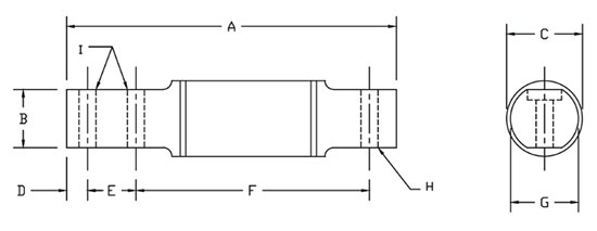
Dimensions

More Information
SKU CAS-60040 Series
Rated Output 3.00 mV/V ± 0.1%
Repeatability ± 0.01% FS
Creep ± 0.02% FS
Temperature Effect on Zero ± 0.0027% of rated output/°C
Recommended Excitation Voltage 10V
Maximum Excitation Voltage 10V AC/DC (20V Max)
Zero Balance ± 1.00% FS
Input Resistance 385 ±10 ohms
Output Resistance 350 ± 3 ohms
Insulation Resistance 5000 Megohms
Cable Length 30' Standard
Compensated Temp Range -10°C - +40°C
Safe Overload 150% FS
Protection Class IP 67 Environmentally Sealed
Country of Manufacture China
Copyright © 2023 CAS Corporation. All Rights Reserved.